Characteristics and advantages
Ultra-Low Power Omni polar Switch Hall Effect Sensor
Industry ultra-low power consumption:2.5 µA at 2.8V supply voltage
2.2 to 5.5V operating range
Extremely high sensitivity
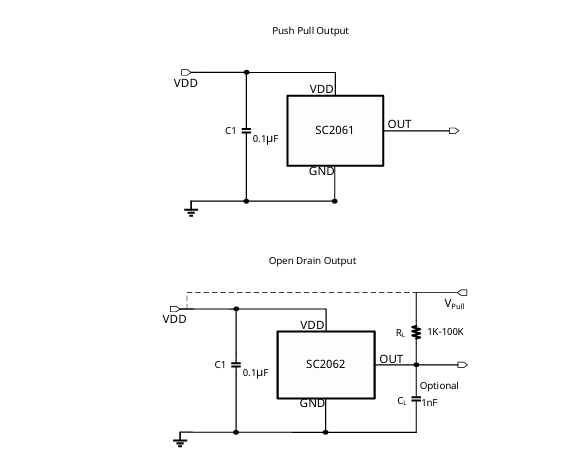
Push-Pull and Open-Drain output options
-40°C to 85°C operating temperature range
Small package :3-pin TO-92S (UA) 、3-pin SOT23-3L (SO)

